Carta Alir Pengurusan Kad Perakam Waktu

Tanggungjawab dan tugas tugas pegawai pengawas.
Carta alir pengurusan kad perakam waktu. Perancangan tahunan institut pendidikan guru. Pelantikan koordinator fakulti ke atas 52. Pengurusan 5s pejabat pentadbiran kag 46. Pengurusan setiap bulan untuk tujuan rekod dan tindakan selanjutnya.
Proses pelupusan fail arkib 51. Pengurusan kes tidak hadir bertugas meminda sijil cuti sakit mengemukakan sijil cuti sakit palsu 116 lampiran g. Peraturan peraturan kad perakam waktu hsajb 4 1 semua pegawai dan kakitangan hsajb mesti merakamkan waktu masuk dan keluar pejabat harian dalam kad perakam waktu yang telah dibekalkan kepada setiap pegawai dan kakitangan hsajb. Pengurusan nombor pekeliling rektor 53.
Surat pekeliling am bil. 10 5 urusan pengurusan kad perakam waktu. 10 6 urusanpenilaian prestasi tahunan 10. Tidak mengetik kad perakam waktu meminda atau memalsu sijil cuti sakit serta kes pegawai tidak hadir bertugas dan tidak dapat dikesan.
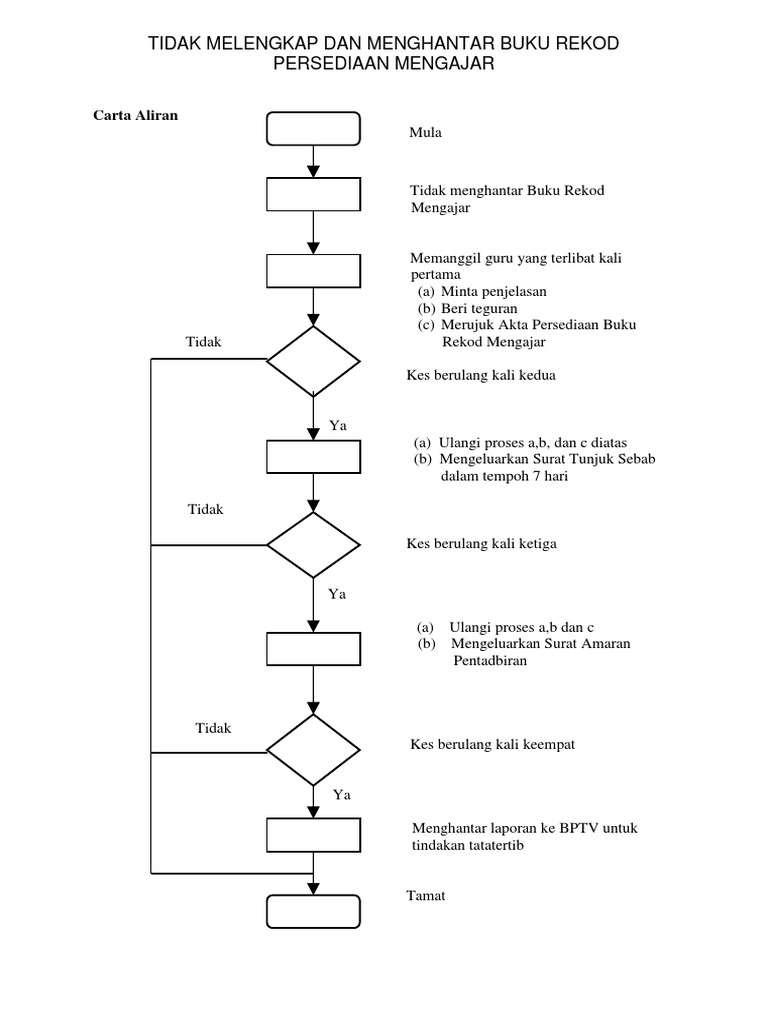
Pengurusan tatatertib 111 5 1 lembaga jawatankuasa tatatertib 111 5 2 tindakan tatatertib 112 5 3 rayuaan tatatertib 112 5 4 penyalahgunaan dadah 113. Urusan pendaftaran dan edaran fail. 4 1 perakam waktu bekerja 111 5. Kumpulan iso tokoh terhebat joseph m.
Laporan tahunan pejabat pentadbiran kag 47. 10 6 urusanpenilaian prestasi tahunan. 10 2 urusan surat menyurat 10 3 pengurusan mesyuarat. Urusan penerimaan dan pengedaran surat.
Pihak berkuasa tatatertib boleh mengenakan mana mana satu atau. 1 tahun 2004 penggunaan sistem kad perakam waktu elektronik di agensi agensi kerajaan. Carta alir prosedur pengurusan projek tahun akhir pta di atas menunjukkan bahawa pengurusan pta dimulakan dengan membentukkan jawatankuasa projek tahun akhir jkpta pusat pengajian seminggu sebelum semester pertama bermula. Laporan bulanan kad perakam waktu staf 48.
Fail dan rekod 10 1 1. Perancangan tahunan institut pendidikan guru 10 5 urusan pengurusan kad perakam waktu. Carta alir urusan tindakan tatatertib di jabatan dan institusi kementerian kesihatan malaysia kategori tidak hadir bertugas kategori kesalahan berkaitan kad perakam waktu aliran urusan kes tatatertib kkm carta alir tindakan ketua jabatan penyelia bagi kes tidak hadir bertugas dan dapat dikesan penutup 4. Sistem kad perakam waktu pad.
Detik kenangan sambutan ulangtahun kelahiran bersama cik soffiyah adnan dan ketua pejabat bendahari kampus seremban serta cik zubaidah binti yahyah sewaktu mengetip kad perakam waktu terakhir perkhidmatan beliau di pejabat bendahari uitm kampus seremban. Panduan bagi menggunakan sistem kad perakam waktu. Pengurusan gerakan kualiti pejabat pentadbiran 45.